据国家知识产权局中国专利公布公告(授权公布号:CN111833749B)显示,OPPO 广东移动通信有限公司申请的“柔性显示装置以及电子设备”专利获授权并于今天公布。
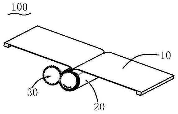
摘要显示:本申请提供了一种柔性显示装置,包括柔性屏、卷筒以及驱动机构,所述柔性屏设有第一吸附件;所述卷筒设有第二吸附件,所述第二吸附件用于吸附所述第一吸附件;所述驱动机构用于驱动所述卷筒转动;其中,所述柔性屏可缠绕于所述卷筒外侧壁,所述第二吸附件与所述第一吸附件构成吸附连接关系,以在所述卷筒转动时将所述第一显示部固定于所述卷筒的侧壁。

本申请实施例提供的柔性显示装置,通过驱动机构驱动卷筒转动,且在卷筒转动时第二吸附件与第一吸附件构成吸附连接关系,以将柔性屏的第一显示部进行固定,从而在卷筒转动时将柔性屏缠绕于卷筒,可以实现柔性屏双向收拢与展开。
更多资讯请关注官方微信公众号:神卡申请助手
本站实时更新三大运营商正规大流量优惠套餐,点击下方图片??免费领取吧!

评论区