国家知识产权局信息显示,今日,华为技术有限公司“柔性屏支撑机构及可卷曲的电子设备”专利获授权,公布号为 CN114439843A。

专利摘要显示,该申请提供的柔性屏支撑机构及可卷曲的电子设备的结构简单、收纳空间小且可适用于便携设备。
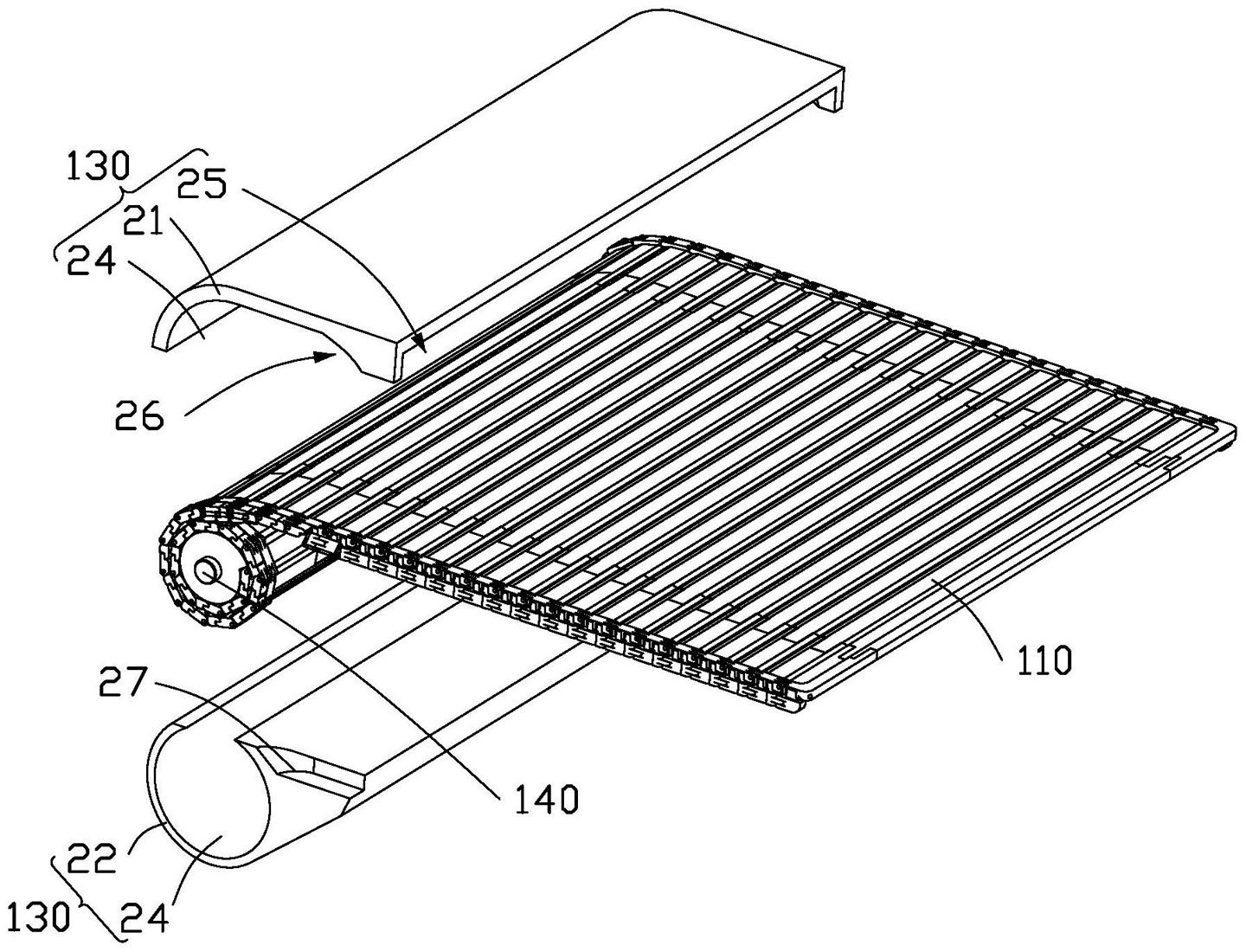
华为公布可卷曲电子设备专利:收纳空间小,适用于便携设备
IT之家了解到,具体来看,该申请提供一种柔性屏支撑机构,包括具有支撑组件和转动组件的支撑结构。
•相邻的支撑组件之间通过第一转动轴转动连接;转动组件与支撑组件通过第二转动轴转动连接,相邻的转动组件之间通过第三转动轴转动连接;转动组件可相对于支撑组件翻转并在第一及第二状态之间转换。
•当转动组件处于第一状态时,第一转动轴的轴心与第三转动轴的轴心共线,相邻的支撑结构可相对第一或第三转动轴转动,柔性屏支撑机构能够卷曲。
•当转动组件处于第二状态时,第一转动轴的轴心与第三转动轴的轴心相交,相邻的支撑结构不可相对转动,柔性屏支撑机构不能卷曲。
更多资讯请关注微信公众号:神卡申请助手 选靓号、办大流量手机卡就找微信公众号:神卡申请助手!点我挑选靓号,点我选套餐
评论区